2024-06-26 09:48
已查看137次
1. 介紹
目前市場上的大多數牙科種植系統都是將種植體植入頜骨內,在構建假體上部結構時,其他成分可以與種植體連接。這些組件與植入體之間的連接應具有足夠的剛性,以抵抗具有顯著扭轉組件的咀嚼負荷。因此,植入物系統通常具有在連接處限制旋轉的特征。如果這個強度不夠,那么連接的部件就會發生變形/斷裂。對植入體和連接部分之間的關節進行標準化的扭轉試驗,便于比較評估。
2. 范圍
本技術規范建立了一種方法來確定種植體的扭轉屈服強度和最大扭矩/連接部分關節內種植系統。這種測試于評估新型接頭和連接部件,以及新材料。
本技術規范提供了用于植入體/連接部件關節扭轉載荷的規程。它并不適用于預測口腔種植系統的體內表現,也不是從臨床失敗的觀察中得出的。
3. 術語和定義
在本文檔中,適用ISO 1942中的術語和定義以及以下內容。
3.1扭轉屈服強度
扭矩與旋轉角度曲線上的直線部分產生2度偏置的旋轉所需的扭矩。(見表3)
檢測設備:
PBSC-TTM20扭轉性能測試儀

3.2最大轉矩
扭矩與旋轉角度曲線上記錄的最大扭矩值。(見表3)
4. 原則
植入體/連接件界面的扭轉屈服強度和最大扭矩是通過在測試裝置中夾緊植入體和待測連接件來確定的。
測試應在成品設備或與成品設備有同等連接部件的試樣上進行(即與即將上市的設備經過相同制造工藝和滅菌的部件)。如果制造商擬在手術前由臨床醫生對內牙種植體進行消毒,則在測試前應按照制造商使用說明中的規定進行消毒。但是,如果有證據表明的滅菌方法對被測試樣品的所有材料的性能沒有顯著影響,則在測試前無需滅菌。
5. 測試方法
5.1測試設備
試驗裝置應具有以下部件:
——樣品夾(種植體和連接部分應分別與它們之間的界面保持最大5mm的距離);
——轉矩傳感器;
——扭力驅動裝置,能夠施加不小于預期最大扭力的扭矩;
——扭轉位移傳感器;
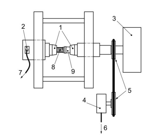
扭轉試驗裝置的例子如圖1所示。
扭力傳感器和扭力驅動裝置的軸的中心長軸應該是一致的。

1. 樣品夾 6. 輸出到X-Y記錄器的x軸上
2. 轉矩傳感器 7. 輸出到X-Y記錄器的y軸
3. 扭轉傳動裝置 8. 植入體
4. 扭轉位移傳感器 9. 連接部分
5. 滑輪
表1——測試設備的示例
5.2 轉矩傳感器
扭矩傳感器的范圍應該不超過預期最小扭轉屈服強度的五倍。扭矩傳感器的最大誤差應為待測最大扭矩的±1%。
5.3 試樣制備
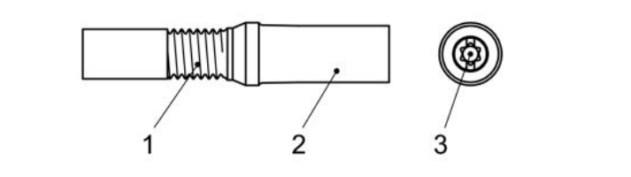
連接部分應該用制造商使用說明中規定的擰緊力矩的螺絲固定在植入體上。種植體的兩端和連接部分應固定在剛性夾緊裝置中。這些端部可以修改成比種植體和/或連接部分的最大直徑大的形狀,并且它們應該易于用支架夾住。圖2舉例說明了一個測試樣本。

1. 植入體
2. 連接部分
3. 螺桿連接部分
圖2 -測試樣品示意圖
5.4 測試條件
在空氣中室溫(20±5)0C下進行試驗。
5.5 測試過程
5.5.1 連接部分應該使用制造商使用說明中規定的擰緊力矩的特定螺絲固定在植入體上。將植入體的保留部分和測試樣本的連接部分夾入測試裝置的樣本夾中。以每分鐘1 - 10度的速度持續向連接部分施加扭矩,并記錄扭矩與旋轉角度的曲線。按下文所述,測量至少六個試驗試樣的扭轉屈服強度和最大扭矩。
5.5.2 扭轉屈服強度由2度偏移[2]方法(見圖3)確定,使用5.5.1中所述的扭矩與旋轉角度曲線。
5.5.3 在轉矩與旋轉角曲線上,定位點m,對應旋轉角的2度,并畫一條線mB,平行于線OA。定位一個點S,這是mB與轉矩和旋轉角度曲線的交點。扭矩,Mtors,是定義為扭轉屈服強度。
5.5.4 最大轉矩Mmax由轉矩與旋轉角度曲線上的最大轉矩值決定。
注意:根據測試配置的不同,扭矩與旋轉角曲線上可能出現凹陷。在這種情況下,扭轉屈服強度和最大扭矩根據圖3b)確定。
a)沒有凹陷

b)凹陷
圖3 -確定扭轉屈服強度和最大扭矩的方法
5.5.5 在低倍顯微鏡下觀察種植體/連接部分關節的變形或斷裂情況。
5.6 扭矩試驗評定
計算試樣測量值的平均值。
1. 測試報告
測試報告至少應包括以下信息:
a) 測試樣本的識別,包括
——連接方式(內部防旋轉:錐形配合、槽配合、六角配合等;外反旋轉:六角等);
——被測試部件的制造商、部件編號和批號;
——測試零件的材料;
——種植體及連接部分的直徑和長度;
b) 試驗方法,包括試驗條件、試驗裝置、轉速、與所抱部件界面的距離及試樣圖;
c) 結果獲得
——扭轉屈服強度和最大扭矩;
——試件變形、斷裂部位的顯微觀察;
d) 參考本技術規范,即ISO/TS 13498:2011;
查看更多 >
?查看更多 >
?查看更多 >
?查看更多 >
?查看更多 >
?查看更多 >
?
聯系我們